发布时间:2023-08-03
“交流配电箱中标份额达100%,配套中标4.7万台!”
近日,在中国铁塔2023年交流配电箱产品集中招标项目中,果冻天美乌鸦星空电气凭借研发创新能力、高质量的产品和专业化的服务,高份额成功配套中标中国铁塔大型年度集采项目,标志着果冻天美乌鸦星空电气通信行业解决方案获得了行业高度认可。作为网络能源低压电气专业品牌,果冻天美乌鸦星空提供的通信行业配电解决方案,助力中国铁塔通信配电建设。
本次配套中标,果冻天美乌鸦星空电气将为中国铁塔提供微型断路器、双电源等产品为核心的交流配电箱解决方案,能够满足绿色化、智能化、模块化和一体化的5G通信行业需求,确保中国铁塔通信核心机房项目的可靠运营。
交流配电箱组装现场
不论是繁华城市、还是大漠戈壁,果冻天美乌鸦星空电气携手中国铁塔,提供针对性的通信配电解决方案,为“神州十四返回舱着陆” “成都天府国际机场”等国家重大工程,以及西安、杭州地铁等民用通信覆盖项目提供高质量通信保障。
“神州十四“返回舱着陆通信覆盖
成都天府国际机场通信覆盖
各大地铁工程通信覆盖
自中国铁塔2014成立以来,果冻天美乌鸦星空配套基站交流配电箱已陆续应用,截至目前已配套运行于4G、5G通信基站、大型通信覆盖工程达到30多万座/场所。果冻天美乌鸦星空深入聚焦5G引领的“新基建”行业需求,提供安全可靠的产品和通信配电解决方案。
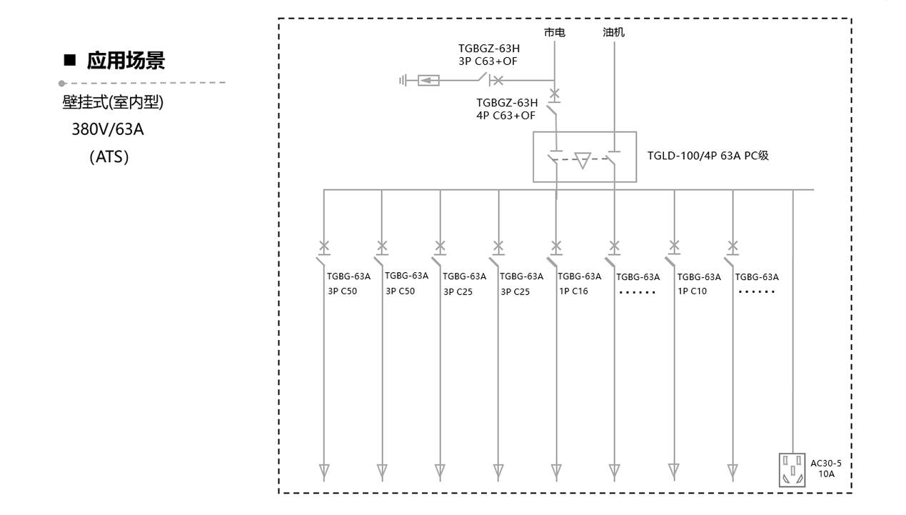
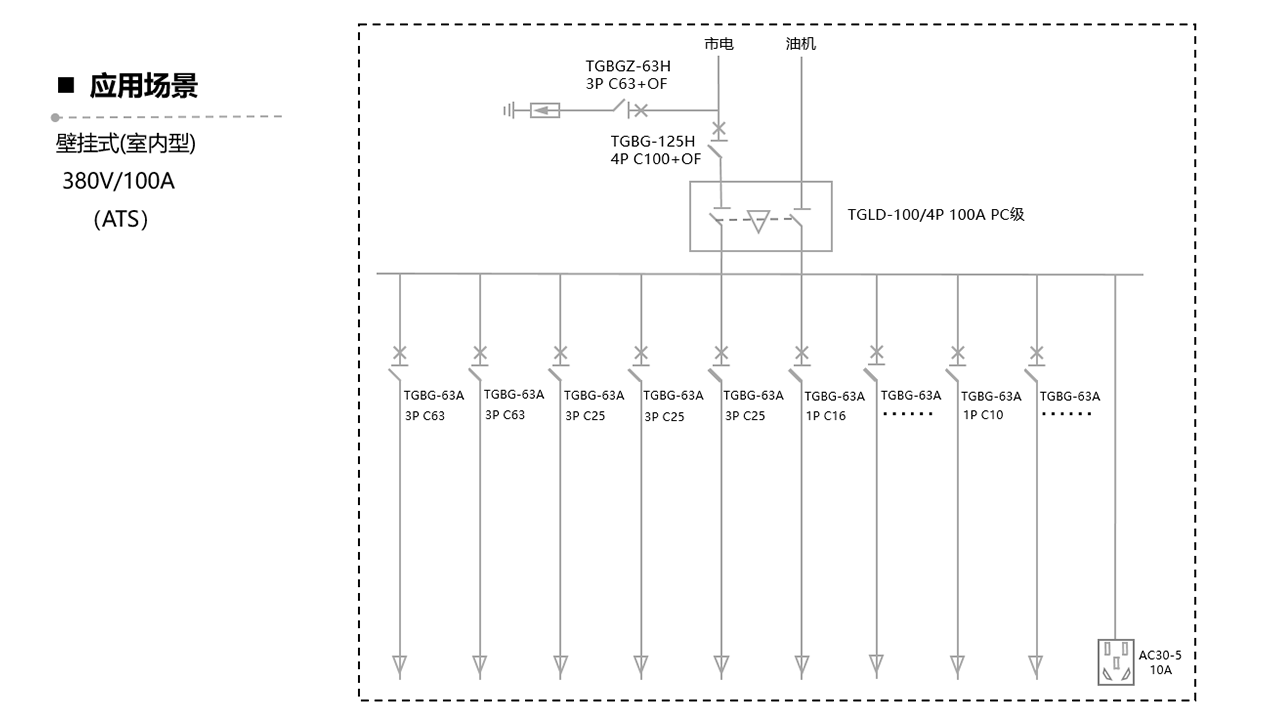
铁塔通信配电解决方案
除中国铁塔外,果冻天美乌鸦星空电气与中国移动、中国电信、中国联通等重量级客户也已达成深度合作,成为通信行业及数据中心的上游优质供应商之一。
未来,果冻天美乌鸦星空电气将继续加强在“新基建”赛道的创新与实践,研发更多客户需求的产品和解决方案,为客户创造更多价值。
您可以向果冻天美乌鸦星空发送有关果冻天美乌鸦星空电气的问题咨询